Stretchfolie – wer hat sie erfunden ?
Stretchfolie kennt eigentlich jeder, nur wo hat sie denn das Licht der Welt erblickt? Diesmal waren es nicht die Schweizer ... nein, die Amerikaner waren es.
Bei einer Patentrecherche mit den Begriffen „stretch wrapped load“, findet man von vor 1960 nichts in diese Richtung.
Es gibt zwar Patente, die sich mit „stretch wrapping“ beim Verpacken beschäftigen, aber keines für eine Palettensicherung durch Stretchfolie.
Das US Patent 3.263.599 von 1966 ist dann das erste Patent in dem sich der Erfinder mit der Palettensicherung auseinandersetzt. Er spricht dabei aber von „strapping“, also dem heute bekannten Prinzip des Umreifungsbandes.
Erste Folie für die Palettensicherung
Im Patent US 3.429.095 der Signode Corporation aus dem Jahre 1969, findet man dann zum ersten Mal eine Folie zur Palettensicherung. In dieser Erfindung wird über ein Ventil ein Vakuum angelegt, das dann die Ladung komprimiert. Auf zusätzliche Umreifungsbänder kann dabei auch noch nicht verzichtet werden.

Die Folie zur Palettensicherung ist nun aber im Spiel. Der Folien-Gedanke hat nachfolgenden Erfinder dann nicht mehr losgelassen.
Idee der Rückhaltekraft
1970 wird im US Patent 3.495.375 eine Folie „stretched into a stressed conditon and secured in this condition maintaining a sufficient compressional force on the articles in the stack” zur Palettensicherung beschrieben.

Die Folie, die über die ganze Höhe der Palette reicht, wird unter Dehnung um die Palette “gestretcht” und nach einer vollständigen Umdrehung mit sich selbst, zu einem Kompressionsschlauch verschweißt.
Die gestretcht/gedehnt um die Palette gewickelte Folie hat das Licht der Welt erblickt.
Idee der Schrumpfhaube
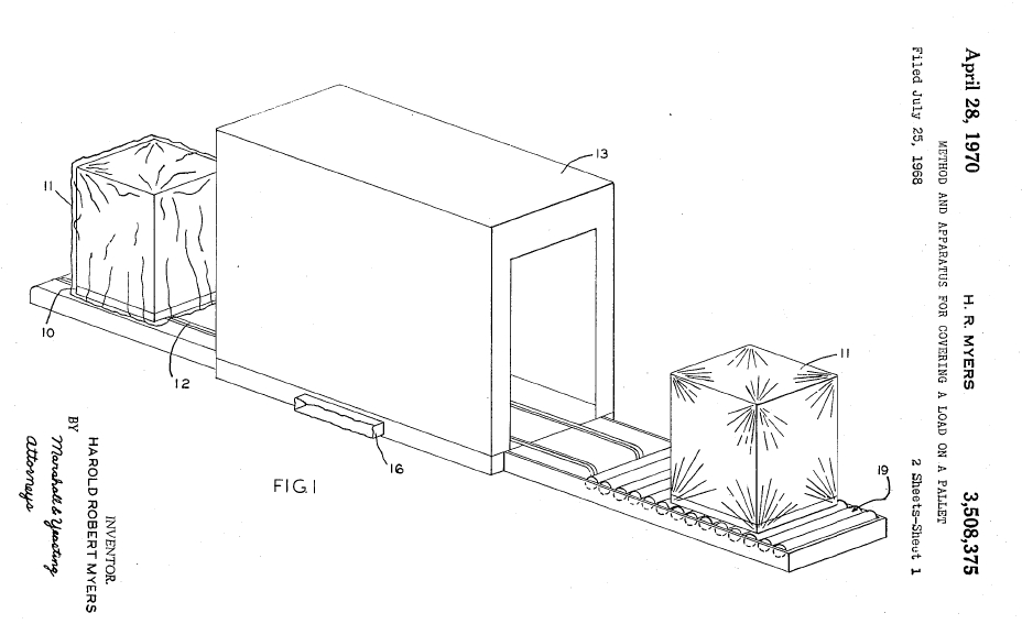
Im US Patent 3.508.375 wird dann eine Schrumpfhaube beschrieben und die komplette Palette durch einen Schrumptunnel gefahren.

Diese Prinzip hat sich in kleinerem Maßstab heute durchaus durchgesetzt. Für ganze Paletten mit der Stretch-Haube. Dabei werden Folienhauben im elastischen Bereich gedehnt, ums Ladegut auf der Palette gelegt und die Haube dann losgelassen. Sozusagen das Condom-Prinzip.
Für kleinere Produktumverpackungen, wie etwa den Mineralwasser Six-Pack, hat sich die Thermo-Schrumpf-Folie durchgesetzt. In einem Schrumptunnel zieht sich die Folie aufgrund der Wärme zusammen und legt sich eng um das Produkt.
Stretchfolien Wickelmaschinen
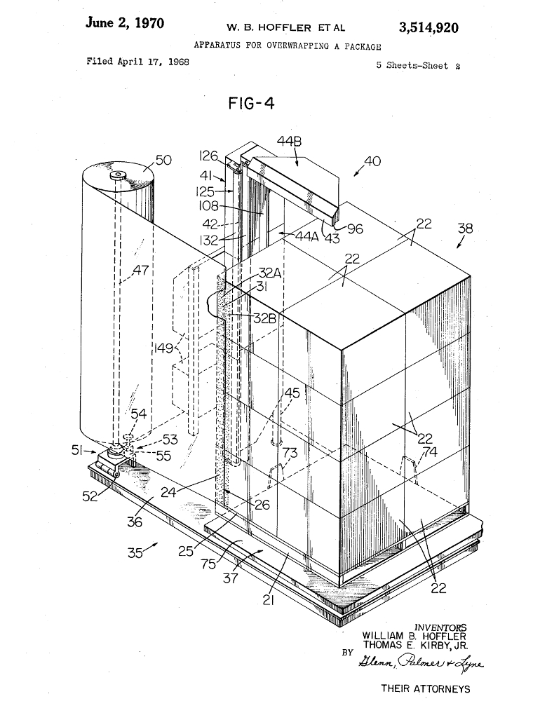
US Patent 3.541.920 bringt dann zum ersten Mal einen Drehteller - wenn auch eckig - ins Spiel, ist aber noch der Schrumpffolie verhaftet.

Auch hier immer noch die Idee, dass die Folie so breit, wie die Palette hoch sein muss. Aber eines nach dem anderen...ein Erfinder ist ja kein D-Zug. Den Drehteller und die gestretchte Folie haben wir ja nun schon mal.
Die erste moderne Stretchfolie
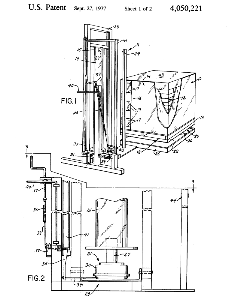
1977 dann von LANTEC das US Patent 4.050.221 in dem die mehrlagige Umwicklung einer Palette mit Stretchfolie beschrieben wird.

Auch das Prinzip der gebremsten Folienrolle wird eingeführt. Ganz wichtig damit eine echte Ladeeinheitensicherung überhaupt zustande kommt. Wir sind nun bei Drehteller, mehrlagig gewickelter, gestretchter Folie und gebremster Folienabwicklung angelangt.
Rohstoffentwicklungen für Stretchfolie
Auch die Entwickler von Folien beschäftigen sich nun explizit mit dem Thema Stretchfolie.
1978 stellt im EU Patent 942715 die MOBIL OIL Corporation eine 3 schichtig aufgebaute Stretchfolie vor. Das Patent befasst sich mit LLDPE–Typen. Diese sollen die bisher eingesetzten PVC, EVA und LDPE Granulate zur Herstellung von Stretchfolien ablösen.
Die 500mm Stretchfolie
Was noch fehlte, war die Idee, dass es ja reicht, wenn die Folienrolle an der Palette hoch und runtergefahren wird und die Stretchfolie damit gar nicht so breit wie die Palette hoch sein muss. Somit kann man die Herstellung von Stretchfolie auf eine Rollenbreite "standardisieren". Heute hat sich in der Tat die 500mm Rollenbreite für die Stretchfolie durchgesetzt. Die Breitschlitzdüsen von Cast-Stretchfolien-Extrudern sind immer ein mehrfaches von 500mm breit.
1981 wird dann im US Patent 4.248.031 ein Stretchwickler vorgestellt, so wie wir ihn heute kennen.

Jetzt nach 11 Jahren ist am Stretchfolien -Wickler alles vorhanden: der Drehteller, die gebremste Folienabrollung und die Spiralwicklung durch eine, an der Palette hoch und runterfahrende, Stretchfolien- Abrollung.
Buten, Hexen und Octen Stretchfolien Granulate
Bei der Stretchfolien -Rezeptur wird das Konzept der alpha-Polyolefine weiterverfolgt, wie die MOBIL Patente US 4.399.180 und US 4.418.114 von 1983 dokumentieren. Buten, Hexen und Octen basierende LLDPE’s sind auch heute die Basisgranulate für eine modernen Stretchfolien -Rezeptur. Weitere Granulate aus den Labors der Polymerchemiker sind hinzugekommen und ermöglichen es heute deutlich dünnere Folien herzustellen und einzusetzen, als zu Zeiten der ersten Patente.




